Bài viết hướng dẫn lựa chọn thiết bị đo nhiệt độ hồng ngoại dựa trên tỷ lệ D:S (khoảng cách đến điểm đo)
Nhiệt kế hồng ngoại hay còn gọi là súng bắn nhiệt độ hồng ngoại đo nhiệt độ bằng phương pháp không tiếp xúc, cho phép người dùng đo nhiệt độ cao ở khoảng cách an toàn. Nó đóng vai trò quan trọng trong kiểm soát chất lượng sản xuất, bảo trì thiết bị và khắc phục sự cố.
Bài viết này sẽ giới thiệu một chỉ số kỹ thuật quan trọng trong việc mua nhiệt kế hồng ngoại, đó là tỷ lệ “khoảng cách đến điểm đo” (D:S).
Trước tiên, chúng ta cần hiểu chức năng của tia laser trong nhiệt kế hồng ngoại. Nó đóng vai trò là một chỉ báo giúp nhiệt kế hướng vào khu vực cần đo. Lấy nhiệt kế của UNI-T làm ví dụ, có ba loại laser phổ biến:
- Laser đơn: Cung cấp một cách đơn giản để nhắm mục tiêu vào khu vực cần đo. Tuy nhiên, nó chỉ có thể chỉ ra khu vực tổng quát. Model: UT300S, UT306S ...v.v.
- Laser kép: Khoảng cách giữa hai điểm laser trên bề mặt vật cần đo xấp xỉ đường kính của vùng đo hình tròn. Model: UT309C, UT309A...v.v.
- Laser dạng vòng: Vòng tròn này ước lượng khu vực cần đo. Model: UT301D+, UT303C+...v.v.
Công nghệ laser kép và laser vòng giúp chỉ ra khu vực cần đo một cách trực tiếp và chính xác hơn.
.png)
Vì nhiệt kế hồng ngoại sử dụng hệ thống quang học với thấu kính để hội tụ năng lượng hồng ngoại, nên vùng mà năng lượng đó được hội tụ đôi khi được gọi là trường nhìn của nhiệt kế . Trường nhìn đôi khi cũng được gọi là điểm đo. Để có được kết quả tốt nhất từ nhiệt kế hồng ngoại, bạn cần hiểu rõ trường nhìn của nó.
Khi đo, hãy đảm bảo rằng vật cần đo lớn hơn đường kính điểm sáng. Vật cần đo càng nhỏ, khoảng cách đo càng phải gần hơn. Nên chọn vật cần đo lớn hơn hai lần đường kính điểm sáng của nhiệt kế.

Góc nhìn sẽ mở rộng khi khoảng cách giữa nhiệt kế hồng ngoại và bề mặt cần đo tăng lên. Hướng đặt thiết bị so với bề mặt cần đo cũng ảnh hưởng đến góc nhìn. Để có góc nhìn hẹp nhất, hãy giữ thiết bị vuông góc hoặc tạo góc 90° với bề mặt cần đo.
Để sử dụng nhiệt kế hồng ngoại đúng cách, điều quan trọng cần nhớ là nhiệt kế hồng ngoại đo nhiệt độ trung bình trên toàn bộ trường nhìn của nó. Khi một bề mặt không nằm trọn trong trường nhìn của thiết bị, thiết bị sẽ không thể đo nhiệt độ của bề mặt đó một cách chính xác, vì kết quả đo sẽ bao gồm cả nhiệt độ của những vật thể nằm cạnh hoặc phía sau bề mặt đó.
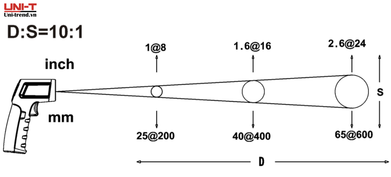
Để xác định kích thước vùng quan sát của nhiệt kế hồng ngoại ở một khoảng cách nhất định, bạn có thể sử dụng tỷ lệ khoảng cách đến điểm (D:S) của thiết bị , đôi khi còn được gọi là tỷ lệ khoảng cách đến mục tiêu (DTR) . Tỷ lệ D:S liên quan đến độ phức tạp của hệ thống quang học của thiết bị và có thể dao động từ 10:1 trên các nhiệt kế hồng ngoại giá rẻ đến 50:1 hoặc cao hơn trên các thiết bị chuyên nghiệp.
Lấy tỷ lệ D:S = 10:1 và 50:1 làm ví dụ, các hình sau đây thể hiện đường kính của trường nhìn với các tỷ lệ D:S khác nhau ở các khoảng cách đo khác nhau.


Nhiệt kế hồng ngoại có tỷ lệ D:S cao, chẳng hạn như 50:1, có thể đo được các khu vực nhỏ hơn từ khoảng cách xa hơn. Khi chọn nhiệt kế hồng ngoại, hãy cân nhắc khoảng cách bạn cần đứng so với các đối tượng cần đo và kích thước của các đối tượng đó. Đối tượng càng nhỏ và càng ở xa, tỷ lệ D:S bạn cần càng cao.
Ví dụ ứng dụng:
Một kỹ thuật viên trong ngành sản xuất đang kiểm tra nhiệt độ một chi tiết gia công. Nếu kỹ thuật viên muốn đo nhiệt độ của vật thể ở khoảng cách xa và an toàn để biết sự thay đổi nhiệt độ của vật thể và kiểm soát chất lượng, người đó có thể chọn nhiệt kế hồng ngoại có hệ số khuếch đại D:S = 20:1 hoặc cao hơn.
Các loại nhiệt kế của UNI-T có nhiều tùy chọn tỷ lệ D:S khác nhau tùy thuộc vào các kịch bản ứng dụng và yêu cầu khác nhau. Tỷ lệ D:S của nhiệt kế giá rẻ UT300A+, là 10:1. Tầm trung UT301C+ là 12:1, Đối với dòng UT302+ , tỷ lệ này là 20:1. Và đối với nhiệt kế chuyên nghiệp dòng UT305C+ , tỷ lệ này là 55:1.
Tôi chắc rằng đến giờ tất cả các bạn đều biết cách mua nhiệt kế hồng ngoại dựa trên D: S
Nếu bạn đang tìm kiếm giải pháp đo lường nhiệt độ không tiếp xúc chính xác và bền bỉ, uni-trend.vn chính là địa chỉ tin cậy hàng đầu tại Việt Nam. chúng tôi chuyên cung cấp các dòng máy đo nhiệt độ hồng ngoại tiên tiến nhất từ thương hiệu UNI-T:
- Sản phẩm chính hãng 100%: Là nhà phần phối ủy quyền chính hãng của thương hiệu UNI-T chúng tối có đầy đủ các model từ dòng laser đơn phổ thông UT301D+ đến các dòng laser kép và vòng tròn cao cấp như UT302A+ và UT303C+.
- Công nghệ định vị Laser hiện đại: giúp xác định chính xác diện tích vùng đo, loại bỏ hoàn toàn sai số.
- Tỷ lệ khoảng cách (D:S) vượt trội: Các thiết bị tại uni-trend.vn sở hữu tỷ lệ D:S từ 10:1, 12:1, 20:1, 30:1 đến mức siêu xa 55:1, cho phép bạn đo nhiệt độ an toàn ở khoảng cách rất xa mà vẫn đảm bảo độ chính xác.
- Dải đo cực rộng: Đáp ứng mọi nhu cầu từ đo nhiệt độ môi trường, thực phẩm đến các ứng dụng công nghiệp nặng với giải nhiệt độ từ -50°C đến 2200°C.
- Chế độ bảo hành chính hãng: Mọi sản phẩm đều được bảo hành dài hạn chính hãng UNI-T, hỗ trợ kỹ thuật tận tình và thay thế linh kiện chính hãng khi cần thiết.
- Giá cả cạnh tranh nhất: Chúng tôi cam kết mang đến mức giá tốt nhất thị trường cho các dòng thiết bị của UNI-T.
☎️ Liên hệ đặt hàng, hỗ trợ kỹ thuật, tư vấn dự án Mr Hạnh: 0983 061 466.
🌐Website Uni-Tred Việt Nam: https://uni-trend.vn
🌐Website bảo hành: https://baohanh.nhatminhesc.com
🏢 Công Ty TNHH Giải Pháp Điện Tử Nhật Minh nhà phân phối chính thức của hãng UNI-T tại Việt Nam.